Artiklar & backstage | 2019-10-24

Här är Teslas revolutionerande vindrutetorkare

Först revolutionerade Tesla elbilsmarknaden.
Nu har man ansökt om patent för en helt ny vindrutetorkare.

Det verkar inte som om det finns några gränser för hur nyskapande Tesla och dess skapare Elon Musk är.
Nu vill man revolutionera hur bilarnas vindrutetorkare fungerar.
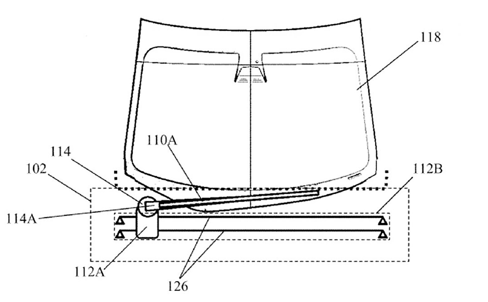
I en ny patentansökan beskriver man flera nya sätt att driva torkarbladen.
I stället för en elektrisk motor innehåller patentet ritningar på små spår som med hjälp av elektromagnetism driver ett ensamt stort blad.
Det här systemet gör att torkarbladet kan göra rent en större yta av vindrutan samtidigt som rengöringen blir effektivare.
Den kanske främsta fördelen för Tesla är att torkarbladet helt och hållet kan gömmas undan när det inte används. Det ger stora fördelar med aerodynamiken och kan också ge en snyggare design för Teslas sportiga bilar.
Enligt tidningen som letat upp Teslas patentansökan, Road and Track, så finns det inte några hänvisningar i ansökan om huruvida det finns några direkta planer på att använda uppfinningen.
Mikael Jägerbrand

Ing-Cathrin Nilsson

Kommentera

Din e-postadress kommer inte publiceras. Obligatoriska fält är märkta *

Tjekvik • Annons

Snabbt, smidigt och enkelt med Tjekviks terminaler

Danska Tjekviks incheckningsterminaler underlättar för både kunder och servicerådgivare. Systemet skickar ett sms till kunden som bekräftar tiden och åtgärderna som skall göras på bilen. Samtidigt erbjuds kunden att köpa till exempel nya torkarblad, spolarvätska eller produkter som respektive återförsäljare själv lägger in i systemet.

Relaterade artiklar